本實用新型涉及危廢處理設備技術領域,特別是涉及一種廢氣處理設備。

背景技術:
噴淋塔是廢氣處理的一種裝備,廢氣由風管引入噴淋塔,廢氣與噴淋液進行氣液兩相充分接觸吸收中和反應,廢氣經過凈化后,再經除霧板脫水除霧后由風機排入大氣。吸收液在塔底經水泵增壓后在塔頂噴淋而下,最后回流至塔底循環使用。
現有技術中,噴淋塔內的除霧設備除霧效果不理想,容易導致進入炭箱內的水汽較多,導致活性炭堵塞,影響吸附效果。
技術實現要素:
本實用新型所要解決的技術問題是:為了克服現有技術中的不足,本實用新型提供一種廢氣處理設備。
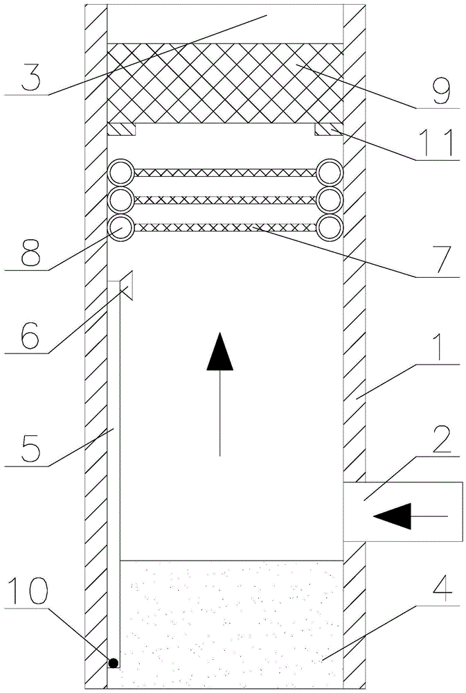
本實用新型解決其技術問題所要采用的技術方案是:一種廢氣處理設備,包括噴淋塔以及設于噴淋塔內的除霧組件和吸附裝置,所述噴淋塔下側側壁上設有進氣通道,所述噴淋塔上端設有出氣口,所述出氣口處設有抽風機,所述噴淋塔底端設有儲水槽,所述噴淋塔內壁面上設有多個水管,所述水管上端設有噴霧頭,所述水管下端設于所述儲水槽內,所述水管下端設有水泵,所述除霧組件包括至少三組除霧絲網,所述除霧絲網從下向上依次設于所述噴霧頭上方,所述除霧絲網周向上設有一圈冷凝管,所述冷凝管上連接有換熱系統,所述換熱系統上設于所述噴淋塔外側,所述吸附裝置包括炭箱,所述炭箱設于所述除霧絲網上方,所述炭箱上下兩端封設有紗布,所述炭箱內設有活性炭。
廢氣通過進氣通道進入噴淋塔內,噴淋塔出氣口處設置抽風機用于將廢氣向出氣口方向抽出,在噴淋塔內形成上升氣流;
水管上設置水泵用于將儲水槽內的水抽出,并從噴霧頭噴出霧化水,霧化水與廢氣充分接觸,將廢氣中可溶于水的成分吸收;
廢氣氣流上升,進入除霧絲網內,除霧絲網用于將細小霧滴攔截,防止進入炭箱內的水汽較多,導致活性炭堵塞,影響吸附效果,而且活性炭堵塞后,會影響車間收集系統的工況風量,導致收集效率降低;
除霧絲網上設置一圈冷凝管用于對高溫廢氣降溫,加強對細小霧滴的攔截效果,防止細小霧滴在高溫廢氣的影響下汽化,越過除霧絲網后液化進入炭箱內,導致活性炭堵塞,影響吸附效果;換熱系統用于與冷凝管換熱,保持冷凝管內冷卻液的低溫。
炭箱內設置活性炭用于吸收廢氣中具有刺鼻氣味的成分,炭箱上下兩端設置紗布用于兜住活性炭的同時,不影響廢氣進入炭箱內。
進一步,為了防止儲水槽內的水有雜質,將噴霧頭堵塞,所述水管下端設有濾網,所述水管內設有用于敲擊所述濾網的鐵球。濾網將水中雜質攔截在水管外,水管中水流的沖擊力將鐵球帶動到一定高度,當濾網被堵塞時,水流沖擊力減小,鐵球下落,借著鐵球的沖擊力將濾網上的雜質震落,保證噴霧頭的噴霧量。
進一步,為了方便更換炭箱,所述噴淋塔內壁面設有與所述炭箱配合的環形限位塊,所述炭箱設于所述限位塊上方。
本實用新型的有益效果是:本實用新型提供的一種廢氣處理設備,采用噴淋塔內設置噴霧頭和炭箱對車間內廢氣進行處理,保證廢氣收集處理效率。
附圖說明
下面結合附圖和實施例對本實用新型作進一步說明。
圖1是本實用新型最佳實施例的結構示意圖;
圖2是炭箱的結構示意圖。
圖中:1、噴淋塔,2、進氣通道,3、出氣口,4、儲水槽,5、水管,6、噴霧頭,7、除霧絲網,8、冷凝管,9、炭箱,9-1、紗布,10、鐵球,11、限位塊。
具體實施方式
現在結合附圖對本實用新型作詳細的說明。此圖為簡化的示意圖,僅以示意方式說明本實用新型的基本結構,因此其僅顯示與本實用新型有關的構成。
如圖1-2所示,本實用新型的一種廢氣處理設備,包括噴淋塔1以及設于噴淋塔1內的除霧組件和吸附裝置,所述噴淋塔1下側側壁上設有進氣通道2,所述噴淋塔1上端設有出氣口3,所述出氣口3處設有抽風機,所述噴淋塔1底端設有儲水槽4,所述噴淋塔1內壁面上設有多個水管5,每個所述水管5上端設有噴霧頭6,所述噴霧頭6朝向所述噴淋塔1軸線方向設置,所述水管5下端設于所述儲水槽4內,所述水管5下端設有濾網,所述水管5內設有用于敲擊所述濾網的鐵球10,所述水管5下端與水泵輸出端連接。
所述除霧組件包括三組除霧絲網7,所述除霧絲網7從下向上依次設于所述噴霧頭6上方,所述除霧絲網7周向上設有一圈冷凝管8,所述冷凝管8上連接有換熱系統,所述換熱系統上設于所述噴淋塔1外側。
所述吸附裝置包括炭箱9,所述炭箱9設于所述除霧絲網7上方,所述炭箱9上下兩端封設有紗布9-1,所述炭箱9內設有活性炭。所述噴淋塔1內壁面設有與所述炭箱9配合的環形限位塊11,所述炭箱9放置于所述限位塊11上端面上。
工作過程:
車間風機啟動,將車間內產生的廢氣收集進進氣通道2內,廢氣通過進氣通道2進入噴淋塔1內,噴淋塔1出氣口3抽風機啟動,將廢氣向出氣口3方向抽出,在噴淋塔1內形成上升氣流;
水管5上的水泵啟動,將儲水槽4內的水抽出,并從噴霧頭6噴出霧化水,霧化水與廢氣充分接觸,將廢氣中可溶于水的成分吸收;
廢氣氣流上升,進入除霧絲網7內,除霧絲網7用于將細小霧滴攔截,除霧絲網7上的水滴積少成多,最終重新落入儲水槽4內;
除霧絲網7上的冷凝管8對被高溫廢氣汽化的水蒸氣降溫,形成細小霧滴,并凝結在除霧絲網7上,換熱系統可以采用換熱器與冷凝管8換熱,保持冷凝管8內冷卻液的低溫。
炭箱9內設置活性炭用于吸收廢氣中具有刺鼻氣味的成分,當炭箱9內活性炭失效時,對炭箱9進行更換。
圖1中箭頭表示廢氣流動方向。
本實用新型中方向和參照(例如,上、下、左、右、等等)可以僅用于幫助對附圖中的特征的描述。因此,并非在限制性意義上采用以下具體實施方式,并且僅僅由所附權利要求及其等同形式來限定所請求保護的主題的范圍。
以上述依據本實用新型的理想實施例為啟示,通過上述的說明內容,相關的工作人員完全可以在不偏離本實用新型的范圍內,進行多樣的變更以及修改。本項實用新型的技術范圍并不局限于說明書上的內容,必須要根據權利要求范圍來確定其技術性范圍。
技術特征:
1.一種廢氣處理設備,其特征在于:包括噴淋塔(1)以及設于噴淋塔(1)內的除霧組件和吸附裝置,所述噴淋塔(1)下側側壁上設有進氣通道(2),所述噴淋塔(1)上端設有出氣口(3),所述出氣口(3)處設有抽風機,所述噴淋塔(1)底端設有儲水槽(4),所述噴淋塔(1)內壁面上設有多個水管(5),所述水管(5)上端設有噴霧頭(6),所述水管(5)下端設于所述儲水槽(4)內,所述水管(5)下端設有水泵,所述除霧組件包括至少三組除霧絲網(7),所述除霧絲網(7)從下向上依次設于所述噴霧頭(6)上方,所述除霧絲網(7)周向上設有一圈冷凝管(8),所述冷凝管(8)上連接有換熱系統,所述換熱系統上設于所述噴淋塔(1)外側,所述吸附裝置包括炭箱(9),所述炭箱(9)設于所述除霧絲網(7)上方,所述炭箱(9)上下兩端封設有紗布(9-1),所述炭箱(9)內設有活性炭。
2.如權利要求1所述的廢氣處理設備,其特征在于:所述水管(5)下端設有濾網,所述水管(5)內設有用于敲擊所述濾網的鐵球(10)。
3.如權利要求1所述的廢氣處理設備,其特征在于:所述噴淋塔(1)內壁面設有與所述炭箱(9)配合的環形限位塊(11),所述炭箱(9)設于所述限位塊(11)上方。
技術總結
本實用新型提供一種廢氣處理設備,包括噴淋塔、除霧組件和吸附裝置,噴淋塔下側側壁上設有進氣通道,噴淋塔上端設有出氣口,出氣口處設有抽風機,噴淋塔底端設有儲水槽,噴淋塔內壁面上設有多個水管,水管上端設有噴霧頭,水管下端設于儲水槽內,水管下端設有水泵,除霧組件包括至少三組除霧絲網,除霧絲網從下向上依次設于噴霧頭上方,除霧絲網周向上設有一圈冷凝管,冷凝管上連接有換熱系統,換熱系統上設于噴淋塔外側,吸附裝置包括炭箱,炭箱設于除霧絲網上方,炭箱上下兩端封設有紗布,炭箱內設有活性炭。本實用新型提供的一種廢氣處理設備,采用噴淋塔內設置噴霧頭和炭箱對車間內廢氣進行處理,保證廢氣收集處理效率。
聯系人:周先生
手機:13600648299
傳真:0577-88602056
地址:浙江省溫州市龍灣區永興街道興騰路6號
